特殊ReamMeisterヘッド作図システム

特殊ReamMeisterヘッドの簡易図面を生成します。

mm inch
JA EN
v1.0.0
ワーク情報

1. 穴タイプ

2. 穴寸法・被削材

mm
範囲: 11.000~32.100mm
mm
mm
工具詳細情報 (任意)

3. 切れ刃設定

C(面取り) C
R(ラジアス) R
mm
範囲: 0.2 - 3.0mm

4. 溝・材種

S S
R R
L L
自動選択

計算結果

型式番号 -
ヘッド呼び径 - mm
ヘッド公差 + - mm
ヘッド公差 - - mm
SSC -
LPR - mm
穴径中央値 - mm
公差範囲グラフ
ヘッド径: - 〜 - mm 調整量: 0.0000 mm

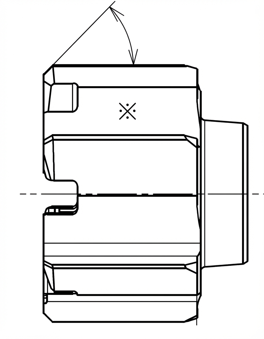
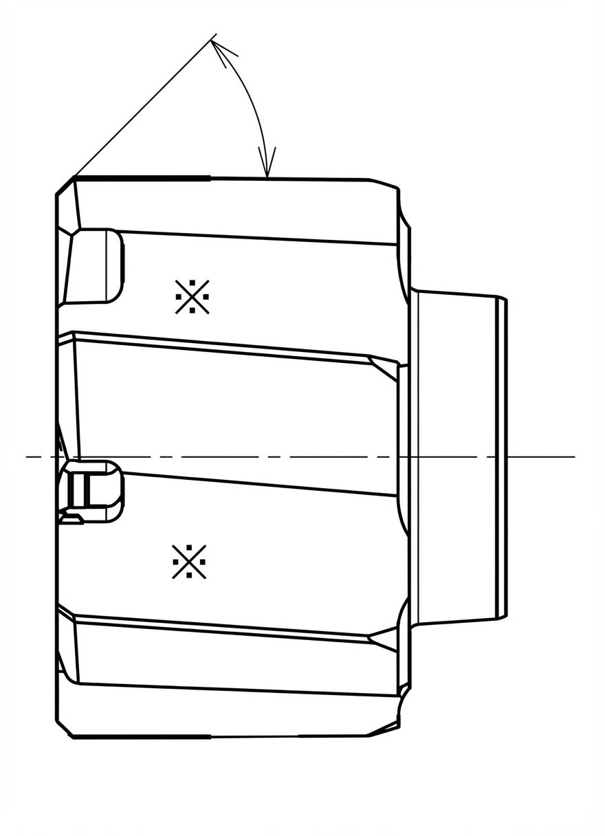
図面プレビュー